商宇,叶爱君,王晓伟
(同济大学土木工程防灾国家重点实验室,上海 200092)
摘要:为了研究河床冲刷效应对自由场和桩基桥梁地震反应的影响,设计并完成冲刷条件下的桩基桥梁振动台试验。试验采用了层状剪切土箱,场地采用均一砂土土层来模拟,其相对密实度约为 50\%。桩基桥梁试件为 2 \times 2 群桩基础单墩结构,墩顶固定 4 \text{t} 的钢质量块来模拟桥梁上部结构,结构整体的一阶周期约为 0.5 \text{s}。试验共分为自由场、小冲刷深度试件和大冲刷深度试件 3 个工况,冲刷深度变化范围为 0 \sim 8 倍桩径。试验采用白噪声输入得到了场地和结构的特征周期,并通过 Chi-Chi 地震实测记录研究了场地土和结构的地震反应。结果分析阶段主要通过加速度计、位移计以及应变片的结果,分析了场地土和结构的动力特性、场地土的加速反应、结构的加速反应和曲率分布等。试验结果表明:冲刷条件下桩基桥梁的地震反应会受到结构和场地土 2 个因素的影响;场地土层会对基岩的地震动产生显著的放大效应;随着冲刷深度增大,桩基桥梁地震反应的最不利位置由桥墩向桩基础转移,且群桩基础的首次屈服位置会由桩身向桩顶转移。
关键词:桥梁工程;桩基桥梁;振动台试验;冲刷;场地放大效应
中图分类号:U442.55 文献标志码:A
Shake Table Test of Pile Supported Bridge Under Scour Condition
SHANG Yu, YE Ai-jun, WANG Xiao-wei
(State Key Laboratory for Disaster Reduction in Civil Engineering, Tongji University, Shanghai 200092, China)
Abstract: To investigate the effect of scouring on the seismic response of free field and the bridge with pile foundation, a shake table test on pile supported bridge was designed and conducted. A laminar shear box was used in the test, filled with uniform layers of sand to simulate the site. The relative density of sand was about 50\%. The specimen was a single pier structure supported by a 2 \times 2 pile group. A 4 \text{-ton} steel block was fixed on the top of pier to simulate the superstructure, resulting in a primary period of 0.5 \text{s}. There were three test cases including the free field test, small scour depth specimen and large scour depth specimen with a range of scour depth from 0 to 8 times of pile diameters. In the tests, the white noise input was deployed to get dynamic properties of soil and structure, whilst the Chi-Chi earthquake ground motion record was used to investigate the seismic response of soil and structure. The data got from accelerometers, displacement transducers and strain gauges, were used to analyze the dynamic properties, acceleration time history of soil and structure and curvature distribution of structure. The results show that under the scouring condition, the soil and structure are the two key factors which would control seismic behavior of pile supported bridge. Soil layers have an amplification effect on the earthquake input comes from bedrock. With the increase of scour depth, the critical section of bridges with pile foundation transfers from pier to pile foundation. In addition, the first yielding region on the pile transfers from the middle part of pile to the top of pile.
Key words: bridge engineering; bridge with pile foundation; shake table test; scour; soil amplification effect
0 引言
高桩承台基础是广泛应用于中国桥梁工程中的一种基础形式。作为桥梁抗震设计中的薄弱环节,近年来针对此类桩基础的抗震研究越来越受到海内外学者的重视。尽管如此,人们对于高桩承台基础地震反应特性的了解仍然十分欠缺,有许多亟待解决的问题。这主要是由于:①土体具有很大的不确定性,很难真实、准确地模拟桩 - 土之间复杂的动力相互作用;②土群桩 - 结构体系的动力特性十分复杂,各类潜在的共振效应会影响结构的地震反应1,2;③一些环境因素的变化,如河床冲刷等,同样会对结构的地震反应产生复杂的影响3。
跨江河桥梁常常面临河床冲刷的问题。河床冲刷会带走表层土体、改变河床场地形态,导致桩基础外露、自由桩长增加。这些边界约束条件的变化,会改变桥梁的动力特性,最终影响桥梁的地震反应3。同时河床场地形态的变化,还将改变自由场的动力特性,从而影响桥梁的地震输入,最终也会影响桥梁的抗震性能。可见,冲刷条件下桩基桥梁的地震反应十分复杂,有必要对其进行深入研究。而现有的有限元模拟方法,如桩基等效嵌固模型1、基于 p-y 曲线的场地 - 结构模型4和二维场地 - 基础 - 结构一体化模型5等,皆存在着各自的不足,难以准确模拟各类因素的影响。因此,针对冲刷条件下桩基桥梁结构的振动台试验是十分有必要的,这不仅可以研究其地震反应特性,同时还能对数值模拟方法进行验证,为参数的合理取值提供依据。如 Wang 等6通过振动台试验研究了桩柱式结构在冲刷条件下的地震反应,发现随着冲刷深度的增加,结构地震下的弯矩需求会由桥墩向桩基础转移;梁发云等7采用离心振动台试验,研究结构 - 桥梁单桩、群桩基础的地震响应。但上述试验的试件由铝合金制成,或仅针对桩柱式基础进行了研究。这与钢筋混凝土结构及群桩基础等仍会有较大差别。
综上所述,为了研究冲刷条件下土群桩 - 结构体系的地震反应特性,本文设计并完成了大型土群桩 - 结构振动台试验,通过自由场振动台试验分析冲刷对地震动输入的影响,通过群桩 - 单墩模型试验分析冲刷对高桩承台基础地震反应及潜在塑性铰位置的影响。研究成果对此类桥梁的数值模拟及抗震设计均有一定的参考价值。
1 振动台试验设计
为了研究冲刷深度对场地地震动输入,以及桩基结构地震反应的影响,同时验证上述理论分析结果。本文设计并完成了大型桩基桥梁振动台试验。全部试验在同济大学多功能振动台试验室完成,所采用的振动台平面尺寸为 4 \text{m} \times 6 \text{m},承载能力为 70 \text{t}。
1.1 剪切土箱及砂土土性
为了消除土箱边界效应的影响,本文采用了层状剪切土箱进行试验。土箱平面尺寸为 2.0 \text{m} \times 1.5 \text{m},高度为 2.0 \text{m},其边界效应已经得到了很好的验证8。试件布置在土箱中心处,沿加载方向与土箱边缘距离为 0.8 \text{m},垂直加载方向与土箱边缘距离为 0.55 \text{m}。
冲刷多发生在以砂土为主的河床中3,故本文采用砂土进行试验,且全部为干砂。这主要是考虑到冲刷深度是影响地震反应的最主要因素,而水对结构动力特性的影响几乎可以忽略9。对于其他土质,如黏土或不同密实程度的砂土,其土体性质主要影响桩、土间的相互作用强度。冲刷深度仅改变土层厚度,而没有改变桩、土间的相互作用机理,因此,对于其他类型的土质,本试验针对冲刷深度的结论,同样具有一定的适用性。图 1 给出了试验砂土的土体颗粒级配,其平均颗粒直径 D_{50} 为 0.33 \text{mm},不均匀系数 C_u 为 0.26,最大、最小干密度分别为 1.654 \text{g} \cdot \text{cm}^{-3}、1.429 \text{g} \cdot \text{cm}^{-3}。装土过程中,砂土被分层均匀加入到土箱内,并逐层压密,最终相对密实度 D_r 约为 50\%。试验中,通过挖去表层一定深度的土体来模拟冲刷深度对场地和结构地震反应的影响。由于试验条件的限制,本文中采用了均一土层进行试验。实际工程中,桩基桥梁有可能会处于不同土质的多层地基中,其冲刷下的地震反应会更加复杂,这需要结合本文的结果进行更深入的分析。

图 1 土体颗粒级配
Fig.1 Grain Size Distribution
1.2 模型试件设计
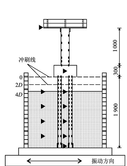
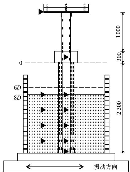
图 2 给出了试验的整体示意,振动台试验采用试件为 2 \times 2 群桩基础单墩结构,墩顶设置钢质量块来模拟桥梁的上部结构。该试验为土群桩结构振动台试验,考虑到土体的不确定性,严格遵照相似比进行试验设计十分困难。因此,试验设计中通过合理选择墩顶配重质量,使得试件的一阶周期与实际桥梁的一阶周期相近,以达到试验目的。根据美国 AASHTO 规范10,常规桥梁的一阶周期介于 0.2 \text{s} \sim 1.0 \text{s} 之间,故本试验最终确定的结构一阶周期约为 0.4 \text{s} \sim 0.5 \text{s}。试验中共 2 个钢筋混凝土试件(试件 S1、试件 S2),分别用来模拟小冲刷深度 (0 \sim 4 倍桩径 ) 和大冲刷深度 (6 \sim 8 倍桩径)下结构的地震反应。试件桩径均为 100 \text{mm} (D),试件 S1 桩长为 1900 \text{mm} (19D),试件 S2 桩长为 2300 \text{mm} (23D),中桩间距为 300 \text{mm} (3D) 11。2 个试件的其他设计参数均相同(如尺寸、桩基布置、配筋等)。承台尺寸为 600 \text{mm} \times 600 \text{mm} \times 300 \text{mm},质量约 0.2 \text{t}。桥墩高 1000 \text{mm},直径为 220 \text{mm},上部结构配重为 4.0 \text{t}。为了便于试件的安装并布置配重,试件制作过程中预先在墩顶和桩底设置了钢板,试件与钢板之间浇筑固结 [图 2(b), (c)]。试验中,钢筋混凝土试件通过底部钢板与土箱地面锚固连接模拟嵌岩桩,钢质量块与墩顶钢板锚固连接模拟固定墩顶上部结构质量。
试件的桥墩和桩基础采用相同的配筋率与配箍率,分别为 2\% 和 0.8\%。桥墩采用 10 根 \Phi 10 纵向钢筋,保护层混凝土厚度为 20 \text{mm}。箍筋采用 \Phi 6 的螺旋钢筋,间距为 60 \text{mm}。同时,纵筋和箍筋均深入承台一段长度,以确保墩底与承台的连接。桩基础的纵向采用 6 根 \Phi 6 主筋,保护层混凝土厚度为 10 \text{mm}。箍筋同样采用螺旋钢筋,直径为 3.5 \text{mm},间距为 40 \text{mm}。桩基的主筋和箍筋同样深入承台一段长度,确保桩顶与承台的连接。
(a) 整体示意

(b) 桥墩与上部结构连接

(c) 桩底与土箱底面连接

图 2 土群桩结构体系振动台试验示意
Fig. 2 Schematic of Laminar Sand-pile Group-structural System Shake Table Test
1.3 工况及测量、加载方案
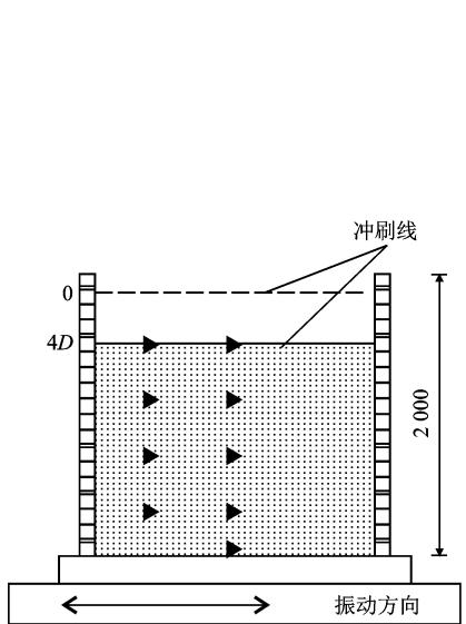
为了研究不同冲刷深度下土层的地震反应,以及冲刷深度对群桩基础结构地震反应的影响,本文共设计了 3 个振动台试验工况(图 3),分别为自由场试验、小冲刷深度结构试验(试件 S1)和大冲刷深度结构试验(试件 S2)。试验中所采用的测量仪器为加速度计和应变片。通过加速度计可以得到土层和结构地震作用下的加速度时程,用来分析土 - 群桩 - 结构体系对地震加速度输入的放大效应,以及体系的动力特性。应变片预埋在桩和桥墩在振动方向的一对主筋上,可以通过钢筋的应变反应反算出结构各截面的弯曲曲率。
(a) 自由场

(b) 试件 S1

(c) 试件 S2

图 3 振动台试验工况及测量仪器布置示意(单位:\text{mm})
Fig. 3 Schematics of Shake Table Test Cases and Measuring Apparatus (Unit: \text{mm})
自由场振动台试验工况中 [图 3(a)],沿竖向从土层表面至土箱底部,每隔 4D (D=100 \text{ mm},为桩身直径 )布置一个加速度计,从而可以得土体加速度反应随深度的变化,进而研究土体对地震的放大效应。在试件 S1,S2 工况中 [ 图 3(b), (c)],加速度计在土体中的布置与自由场工况完全相同,另外在上部结构质量块和承台中心处也相应布置了加速度计,从而对土群桩结构的动力特性进行分析。考虑到 2 \times 2 式群桩基础的对称性,应变片只布置在沿着振动方向的 2 根相邻的桩上。为得到曲率沿桩身的分布情况,从桩顶向桩底每隔 100 \text{mm} (1D) 布置一对应变片,桩底处弯曲反应较小,因此底部 2 对应变片间距改为 200 \text{mm} (2D)。在桥墩的墩底部分布置了 3 对应变片,间距 100 \text{mm} (1D)。除此之外,每隔 200 \text{mm} 布置一对应变片直至墩顶,从而得到曲率沿墩身的分布。
振动台所采用的地震动输入为白噪声和实测地震动记录。白噪声频率变化范围为 0.25 \sim 50 \text{Hz},通过白噪声扫振可以得到土 - 群桩 - 结构体系主要振型的周期。实测地震动输入采用台湾 WNT 测站测得的 1999 年 Chi-Chi 地震动记录。该地震震级 M=7.62,震中距 R=16.27 \text{km},试验采用该记录垂直断层方向 (FN) 的水平分量作为地震动输入,其峰值加速度 (PGA) 被调整至 0.1g。图 4 给出了 Chi-Chi 地震动的加速度时程及加速度反应谱(图 4 中的 \times 表示正向峰值,\bigcirc 表示负向峰值,下文同),其时长为 60 \text{s},卓越周期为 0.24 \text{s},PGA 被调整至 0.1g。正、负向加速度峰值分别出现在 12.11 \text{s} 和 19.51 \text{s}。表 1 列出了各个试验工况所考虑的冲刷深度及加载方案。试验中通过挖去表层一定深度的土体来考虑冲刷深度对场地及桩基结构的影响。在自由场试验中,考虑了 0 和 4D 两种冲刷深度。另外,为了研究土体的非线性反应特性,及输入地震动强度对场地反应的影响,自由场试验中的 Chi-Chi 地震动采用 0.1g 和 0.4g 两种 PGA。在钢筋混凝土桩基试件 (S1, S2) 的试验中,为确保试件保持弹性以进行后续试验,仅采用较小的 PGA (0.1g)。另外,为了保证桩基础的埋置深度不小于 15D,S1 试验中设置的最大冲刷深度为 4D,S2 试验中设置的最大冲刷深度为 8D。
(a) 加速度时程

(b) 加速度反应谱

图 4 振动台试验所采用的地震动输入(Chi-Chi 地震)
Fig. 4 Time-history and Spectrum of Input Ground Motion for Shake Table Tests (Chi-Chi)
表 1 振动台试验加载方案
Tab. 1 Shake Table Test Loading Scheme
| 试验工况 | 冲刷深度 | 地震输入 | 加速度峰值 |
|---|---|---|---|
| 自由场 | 0, 4D | 白噪声和 Chi-Chi | 0.1g, 0.4g |
| 试件 S1 | 0, 4D | Chi-Chi | 0.1g |
| 试件 S2 | 6D, 8D | Chi-Chi | 0.1g |
2 场地和结构动力特性分析
场地和结构的地震反应与其动力特性密切相关,因此在各个试验工况开始前,首先采用 0.25 \sim 50 \text{Hz} 的白噪声作为地震动输入,以得到场地和结构的特征周期。表 2 列出了不同冲刷深度下自由场和桩基桥梁模型试验得到的场地和结构的特征周期与阻尼比。可见随着冲刷深度增大,场地的特征周期有所减小,但桩基桥梁结构的特征周期逐渐增加。场地土和结构的阻尼比用半功率谱法计算得到,可见场地土的阻尼比较小(约为 1\% \sim 3\%),而结构的阻尼比稍大(约为 6\% \sim 8\%)。
表 2 不同冲刷深度下土层及桩基桥梁模型特征周期(阻尼比)
Tab. 2 Characteristics of Fundamental Periods of Free Field and Pile Supported Bridge Model Under Different Scour Depths (Damping Ratio)
| 冲刷深度 | 自由场(砂土) | 桩基桥梁模型 |
|---|---|---|
| 周期/\text{s} | 阻尼比/\% | |
| 0 | 0.15 | 3.94 |
| 2D | ||
| 4D | 0.10 | 1.47 |
| 6D | ||
| 8D |
图 5 给出了在白噪声输入下,不同 PGA 和不同冲刷深度的工况中,由土层表面加速计得到的加速度反应谱。图 5 中:T_{0.1g}, T_{0.4g} 分别表示加速度峰值为 0.1g, 0.4g 时的周期;T_0, T_{4D} 分别表示冲刷深度为 0, 4D 时的周期。可以看出,当冲刷深度不变,而 PGA 从 0.1g 增加到 0.4g 时,土表的加速度反应峰值显著增加,但是土体的一阶周期几乎不发生变化,仅仅从 0.15 \text{s} 减小至 0.14 \text{s} [图 5(a)]。冲刷深度对土体加速反应的影响恰恰相反。当 PGA 相同,冲刷深度从 0 增加至 4D 时,土表加速度反应峰值几乎不变,仅略有增大,而其一阶周期变化显著,从 0.15 \text{s} 减小至 0.10 \text{s},约减小了 33\% [图 5(b)]。因此,土体的一阶周期主要由覆盖土层的厚度决定。在对冲刷条件下的桥梁进行抗震设计时,有必要考虑冲刷深度对场地卓越周期的影响。这与一维场地基本周期的经验公式结论一致 [式 (1)]
式中:n 为振型阶数;T_n 为场地第 n 阶基本周期;H 为土层厚度;V_s 为土体剪切波速12。
(a) 输入 PGA 对土面加速度的影响

(b) 冲刷深度对土面加速度的影响

图 5 自由场试验土层表面加速度反应谱试验结果(白噪声)
Fig. 5 Acceleration Response Spectrum at Soil Surface in Free Field Test (White Noise)
另一方面,冲刷发生后,结构的自由桩长增加,会减小结构的刚度,从而延长结构的自振周期。图 6 给出了桩基桥梁试验模型的加速度反应谱。可见,桩基桥梁的地震反应主要受到结构和场地 2 个振型的影响。与场地相关的振型特征周期约为 0.1 \text{s},与结构相关的振型其周期约 0.5 \text{s}。由于冲刷改变了自由桩长,后者明显随着冲刷深度的增加而增大。

图 6 桩基桥梁模型加速度反应谱(白噪声)
Fig. 6 Acceleration Response Spectrum of Pile Supported Bridge (White Noise)
3 土体地震反应分析
当地震动输入由基岩经过场地土传至地表时,土层会对输入的加速度时程产生放大效应。图 7 给出了 0.1g 和 0.4g 两种 PGA 下,加速度时程反应随土层深度的变化规律。图 7 中:A1,A3,A5 三个加速度计对应的土层深度 h 分别为 0 \text{m}, -0.8 \text{m}, -1.6 \text{m}。从整个加速度时程曲线来看,2 种 PGA 输入下,土层的加速反应随着深度由深到浅都有明显的放大趋势。从峰值加速度反应来看,PGA 为 0.1g 时,土层表面(A1)的正向加速度峰值相较于其他深度的反应有所提前,各深度的负向加速度峰值出现时刻保持一致;PGA 为 0.4g 时,各深度的土层正、负向加速度峰值出现时刻皆相同,且峰值加速度放大效果并不明显。
图 8 给出 2 种 PGA 下,加速度反应谱随土层深度的变化。可见,土层除了对加速度时程产生放大效应以外,还会改变其频谱成分。当土层深度较深时(A5),土层接近基岩,其加速度反应谱的特征周期与基岩地震动输入(Chi-Chi 地震动)的特征周期相近,约为 0.24 \text{s}。随着土层深度由深到浅,与土层自振周期 (0.15 \text{s}) 接近的那部分加速度反应被明显放大。土层表面的加速度反应谱与基岩输入的地震动(图 4)已有显著区别。当 PGA 较小时 (0.1g),土层表面的加速度主要受土体一阶周期影响,PGA 增大后,表层加速度频谱同时受土体和输入 2 个因素的影响。
(a) PGA 为 0.1g

(b) PGA 为 0.4g

图 7 自由场试验中土层不同深度处加速度时程结果(Chi-Chi 地震动)
Fig. 7 Acceleration Time-history at Different Depths of Soil Layers in Free Field Test (Chi-Chi Record)**
(a) PGA 为 0.1g

(b) PGA 为 0.4g

图 8 自由场试验中土层不同深度处加速度反应谱结果(Chi-Chi 地震动)
Fig. 8 Acceleration Response Spectrum at Different Depths of Soil Layers in Free Field Test (Chi-Chi Record)
为了更直观地研究各因素对土层放大效应的影响,图 9 给出了不同冲刷深度、不同 PGA 下,土层加速度峰值随深度的变化。可见,当 PGA 较小时 [图 9(a)],土体对加速度有明显的放大效应。土体峰值加速度从土箱底面至土层表面逐渐增大,在冲刷深度为 0 时,其土表加速度相对于土箱底面的地震动输入放大了约 80\%。而且,在较小的 PGA 下,冲刷深度对土层各个深度的峰值加速度反应影响很小。冲刷深度为 4D 时土层各深度的峰值加速度反应,与冲刷前同高度土层的峰值加速度反应几乎相等。但是,当 PGA 增大到 0.4g 时 [图 9(b)],土体的加速反应峰值与深度呈现出非线性变化。土层的放大效应不明显,土表加速度峰值相对于土箱底面的地震动输入仅略有增大。而中间土层(如土体深度 -0.8 \text{m} 和 -1.2 \text{m}) 的加速度峰值反而比地震输入的加速度峰值要小。另一方面,在较大 PGA 下,不同冲刷深度的土体加速度反应变化明显。冲刷后土层各深度的加速度峰值相对冲刷前同高度土层的加速峰值有明显变化。如 -0.4 \text{m} 深度处,冲刷前 (0) 此处加速峰值为 0.39g,冲刷深度 4D 时,此处变为表层土体,峰值加速度显著增加变为 0.46g,此时的加速度反应反而与冲刷前表层土体的加速度峰值相近。
(a) PGA 为 0.1g

(b) PGA 为 0.4g

图 9 自由场试验土层加速度反应峰值随深度的变化(Chi-Chi 地震动)
Fig. 9 Peak Acceleration Response Along Depths of Soil Layers in Free Field Test (Chi-Chi Record)
4 结构地震反应分析
4.1 位移和加速度反应
由上述分析可见,冲刷深度会同时改变高桩承台桥梁的动力特性及场地的地震动输入,因此,冲刷后桥梁的地震反应也必然会发生显著变化。图 10 给出了冲刷深度分别为 0, 4D, 8D 时墩顶和承台测得的位移时程反应。可见,随着冲刷深度增加,墩顶和承台的位移时程反应具有明显的增加。这主要是由于冲刷后,桩基周围土体约束减少,自由桩长增加所致。另一方面,冲刷深度并未改变峰值位移所出现的时刻。而且,墩顶和承台的位移峰值具有很好的同步性,均出现在 12 \text{s} 左右。
结构的加速度反应同样值得关注,图 11 给出了冲刷深度分别为 0, 4D, 8D 时墩顶和承台测得的加速度时程反应。从整体的加速时程曲线来看,随着冲刷深度增大,墩顶的加速度时程反应明显减小,但承台的加速时程并无明显的增减。这主要是由于冲刷后自由桩长增大,结构的一阶周期 (0.40 \sim 0.63 \text{s}) 延长,远离了地震输入 (0.24 \text{s}) 和土层 (0.10 \sim 0.15 \text{s}) 的特征周期。而承台的加速度反应同时受到上部结构和土体两方面的作用,从其加速度时程的结果来看,显然后者起主导作用。另一方面,从加速度反应峰值来看,墩顶和承台的反应也不同步。墩顶正、负向加速度峰值皆出现在约 12 \text{s},而承台的加速度峰值出现在 20 \text{s}。图 12 给出了不同冲刷深度时,墩顶和承台的加速度反应谱。可见:墩顶的加速度反应主要出现在周期为 0.5 \text{s} 处附近,由结构一阶周期控制;而承台的加速度反应主要出现在周期为 0.1 \text{s} 处附近,由场地一阶周期控制。
(a) 墩顶位移时程

(b) 承台位移时程

图 10 墩顶和承台的位移时程反应(Chi-Chi 地震动)
Fig. 10 Displacement Time-history Response on the Top of Pier and Pile-cap (Chi-Chi Record)
(a) 墩顶加速度时程

(b) 承台加速度时程

图 11 墩顶和承台的加速度时程反应(Chi-Chi 地震动)
Fig. 11 Acceleration Time-history Response on the Top of Pier and Pile-cap (Chi-Chi Record)
(a) 墩顶加速度反应谱

(b) 承台加速度反应谱

图 12 墩顶和承台的加速度反应谱(Chi-Chi 地震动)
Fig. 12 Acceleration Response Spectrum on the Top of Pier and Pile-cap (Chi-Chi Record)
4.2 水平力作用下群桩基础弯矩反应理论分析
地震作用下,桩基桥梁的上部结构会产生很大的水平惯性力,这些惯性力通过支座、桥墩等,最终会传向桩基础,导致桩基产生较大的弯矩反应,最终可能导致桩基破坏。因此,本节以承台处受水平力 P 作用(忽略竖向力作用的影响)的群桩基础为例,分析冲刷深度对桩基弯矩分布情况的影响(图 13)。
群桩基础与桩柱式基础的主要区别是,由于承台的约束,群桩基础的桩顶无法自由转动,因此会在水平力作用下产生较大弯矩。此处为了简化,仅对群桩基础中的一根桩进行分析,并假设桩顶与承台为理想的刚接。桥梁工程中为了满足竖向承载力的要求,桩基础通常有足够的埋深,桩身至少会出现 2 个以上的反弯点(弯矩为 0,见图 13)。由于桩基础较大的弯矩反应主要出现在桩顶及土面以下较浅的位置,此处为了简便,仅截取桩身第 2 个反弯点以上的桩基进行研究。因此,简化后的桩基底部弯矩为 0,仅受到水平剪力 F 的作用。
若地基土对桩的地基反力随深度成线性分布,则根据图 13 中桩基的总体受力平衡可得出
式中:K 为地基反力系数;\gamma 为地基土重度;d 为桩基直径;l_b 为土面以下桩基础长度13。
根据受力分析易知,桩基础的弯矩会分别在桩顶和桩身出现 2 个峰值。假设桩身弯矩峰值距土面的距离为 l_0,则根据弯矩最大处剪力为 0 可知,在深度 l_0 处,桩顶水平力 P 和土体反力平衡
假设冲刷后,土面以上的桩基长度为 l_u,则可分别得出桩顶弯矩 M_1、桩身弯矩 M_2 的表达式如下
由于桩身剪力 F 通常是未知的,因此,将式(2)代入式(4)、(5),消除 F,可得到桩顶和桩身的弯矩峰值表达式如下
在冲刷条件下,随着冲刷深度的增加,会使得 l_u 增大,l_b 减小或不变,而 l_0 几乎不变14。因此,由式(6)、(7)可见,在相同的水平力 P 作用下,冲刷会使得 M_1 变大,M_2 变小。即冲刷深度增大会使得高桩承台基础的最大弯矩由桩身向桩顶转移。

图 13 水平力作用下桩基础弯矩反应示意
Fig. 13 Bending Moment Distribution Along Piles Under Horizontal Force
4.3 曲率分布
水平力地震作用下,桥梁的下部结构如桥墩和桩基础等,通常因承受很大的弯矩而发生破坏。因此,桥墩和桩基的弯矩曲率分布情况是设计者最关心的地震反应之一,通过分析其曲率分布,可以判断结构最不利截面,并通过增加配筋,来确保其延性和安全性等。另一方面,冲刷会导致桩基周围土体约束减少、改变桩基结构的动力特性从而影响结构的地震反应。
图 14 给出了试件 S1,S2 的曲率包络图随冲刷深度的变化。在试件 S1 的试验中,当冲刷深度较小时,随着冲刷深度从 0 增加至 4D,桥墩和桩基的曲率均增大。桥墩的曲率从墩顶向墩底逐渐增大,而桩身曲率则出现 2 个峰值曲率,土面以上的峰值曲率 m_1 出现在桩顶与承台连接处,土面以下的峰值曲率 m_2 出现在桩身距土面 4D 到 6D 的深度处,这一结果与 4.2 节中的理论分析及拟静力试验15现象相符合。随冲刷深度增大,m_1, m_2 均增大,但土面以上的曲率峰值 m_1 总是小于土面以下的峰值 m_2,说明小冲刷深度时,高桩承台桩基的潜在塑性铰位置在土面以下。同时 m_2 的位置随冲刷深度增大逐渐向桩底移动,但由于土面会随冲刷深度而下降,m_2 距土面的距离几乎不变。在试件 S2 的试验中,随冲刷深度由 6D 增大到 8D,桥墩和桩基的曲率并未增大,反而略有减小。说明高桩承台基础的曲率反应并非是冲刷深度越大越不利,这主要是由于土群桩结构体系间存在着复杂的共振相互作用1。另外,冲刷深度增大,桩基土面以上的曲率峰值 m_1 几乎不变,而土面以下的曲率峰值 m_2 略有减小,且始终小于 m_1。
从试件 S1,S2 截面曲率包络图的比较可见,S2 的墩身曲率明显小于 S1,而 S2 的桩身曲率则明显要大于 S1。这说明随冲刷深度的增大,桩基桥梁地震下的弯曲反应会由桥墩向桩基础转移。因此,在对冲刷条件下的桩基桥梁进行地震反应分析时,应重视桩基础的抗震设计。另一方面,对于桩基上的 2 个峰值曲率 m_1, m_2,在冲刷深度较小时(S1),m_1 小于 m_2;而冲刷深度较大时(S2),m_1 大于 m_2。这说明冲刷深度的增加,会导致桩基础的潜在塑性铰位置由土面以下向土面以上转移,这也验证了上述理论分析结果。除此之外,同样值得关注的是,群桩基础的地震反应分析中,桩顶与承台的连接处通常被认为是桩基地震反应下最薄弱的环节。但是从 S1 的振动台试验结果 [图 14(a)] 可见,对于冲刷深度较小的高桩承台群桩基础,其桩基的最不利截面出现在土面以下 4D \sim 6D 内。因此,在此类桥梁的抗震设计中,除了桩顶以外,土面以下桩身的地震反应同样需要重视。故在此类桥梁的抗震设计中,桩顶及桩身 4D \sim 6D 位置都需要进行箍筋加密布置。


图 14 试件 S1,S2 桩基桥墩反应包络图
Fig. 14 Envelope of Curvature Along Pile and Pier of Specimen S1 and S2
5 结语
(1)冲刷会影响场地土和结构的自振周期,随冲刷深度的增大,场地土的一阶周期减小,而结构的一阶周期增大。
(2)土层会对基岩的地震动产生显著的放大效应,但是这种放大效应受基岩地震动加速度峰值的影响较大。
(3)随着冲刷深度增大,桩基桥梁结构的抗震薄弱部位会由桥墩向桩基础转移。在此类桥梁的设计中需重点考虑桩基础的抗震措施。
(4)地震作用下高桩承台基础有 2 个潜在塑性区域,分别在桩顶和土面以下 4 \sim 6 倍桩径处。冲刷深度较小时,土面以下桩身先屈服;冲刷深度较大时,桩顶先屈服。
参考文献
References:
XU Y, SHANG Y, YE A. Dynamic Interaction Between Bridge Pier and Its Large Pile Foundation Considering Earthquake and Scour Depths[J]. Advances in Structural Engineering, 2016, 19(9): 1390-1402. ↩ ↩ ↩
SHANG Y, WANG X, YE A, et al. Experimental Investigation on Seismic Resonance Behavior of Pile Foundation Structures Under Scouring Condition [C]//IAEE. 16th Word Conference of Earthquake Engineering. Tokyo: IAEE, 2017:1-10. ↩
MELVILLE B W, COLEMAN S E. Bridge Scour [M]. New York: Water Resources Publication, 2000. ↩ ↩ ↩
BOULANGER R W, CURRAS C J, KUTTER B L, et al. Seismic Soil-pile-structure Interaction Experiments and Analyses[J]. Journal of Geotechnical and Geoenvironmental Engineering, 1999, 125 (9): 750-759. ↩
王晓伟,李 闯,叶爱君,等. 可液化河谷场地简支梁桥的地震反应分析 [J]. 中国公路学报,2016,29(4):85-95.
WANG Xiao-wei, LI Chuang, YE Ai-jun, et al. Seismic Demand Analysis of Simply Supported Girder Bridge in Liquefied or Non-liquefied Ground [J]. China Journal of Highway and Transport, 2016, 29(4):85-95. ↩WANG S, LIU K, CHEN C, et al. Experimental Investigation on Seismic Behavior of Scoured Bridge Pier with Pile Foundation[J]. Earthquake Engineering & Structural Dynamics, 2015, 44(6):849-864. ↩
梁发云, 陈海兵, 黄茂松, 等. 结构 - 群桩基础地震响应离心振动台模型试验 [J]. 建筑结构学报, 2016, 37(9):134-141.
LIANG Fa-yun, CHEN Hai-bing, HUANG Mao-song, et al. Model Test on Seismic Response of Superstructure and Pile Group[J]. Journal of Building Structures, 2016, 37(9):134-141. ↩伍小平, 孙利民, 胡世德, 等. 振动台试验用层状剪切变形土箱的研制 [J]. 同济大学学报: 自然科学版, 2002, 30(7): 781-785.
WU Xiao-ping, SUN Li-min, HU Shi-de, et al. Development of Laminar Shear Box Used in Shaking Table Test[J]. Journal of Tongji University: Natural Science, 2002, 30(7): 781-785. ↩JU S. Determination of Scoured Bridge Natural Frequencies with Soil-structure Interaction[J]. Soil Dynamics and Earthquake Engineering, 2013, 55: 247-254. ↩
AASHTO LRFD, Bridge Design Specifications[S]. ↩
FLEMING K, WELTMAN A, RANDOLPH M, et al. Piling Engineering [M]. Abingdon: Taylor & Francis Ltd, 2008. ↩
KANAI K. The Requisite Conditions for the Predominant Vibration of Ground[J]. Bulletin of the Earthquake Research Institute University of Tokyr, 1957, 35:457-470. ↩
JOHN P W. Dynamic Soil-structure Interaction[M]. Englewood Cliffs: Prentice-Hall, 1985. ↩
金晶. 考虑冲刷效应的高桩承台基础地震反应分析 [D]. 上海:同济大学,2010.
JIN Jing. Seismic Response of Elevated Pile Foundation of Bridge with Scour Effects [D]. Shanghai: Tongji University, 2010. ↩WANG X, YE A, HE Z, et al. Quasi-static Cyclic Testing of Elevated RC Pile-cap Foundation for Bridge Structures[J]. ASCE Journal of Bridge Engineering, 2016, 21(2): 1-17. ↩