王晓伟,李闯,叶爱君,商宇
(同济大学土木工程防灾国家重点实验室,上海 200092)
摘要:为分析可液化河谷场地简支梁桥的地震反应,首先基于 OpenSees,采用二维场地 - 结构整体化模拟方法对某离心机试验进行了数值模拟,并验证模拟方法的可靠性;然后建立了一座典型河谷场地 - 三跨简支梁桥的有限元模型,分析场地液化与否对场地及简支梁桥各部件地震反应的影响。结果表明:与输入地震的加速度谱相比,液化场地可延长地表土体加速度反应的卓越周期;与场地未液化相比,场地液化可导致地面大变形,桩基础在桩顶和土层分界处的弯矩、桥墩倾斜程度、滑动支座位移均有所增加,但场地液化与否对墩底弯矩的影响很小。
关键词:桥梁工程;地震反应;有限元方法;简支梁桥;液化
中图分类号:U447 文献标志码:A
Seismic Demand Analysis of a Simply Supported Girder Bridge in Liquefied or Non-liquefied Ground
WANG Xiao-wei, LI Chuang, YE Ar-jun, SHANG Yu
(State Key Laboratory of Disaster Reduction in Civil Engineering, Tongji University, Shanghai 200092, China)
Abstract: In order to analyze seismic response of a simply supported bridge in liquefiable river valley, numerical simulation of a centrifuge testing was conducted based on OpenSees by the two dimensional site-structure integration simulation method to verify the reliability of the simulation method. A finite element model of typical simply supported three-span bridge in river valley was then established. And the effects of ground liquefaction on the seismic response of the site and all parts of the simply supported bridge were analyzed. The results show that, compared with the acceleration spectrum of input ground motion, ground liquefaction extends the predominant period of the acceleration response spectrum in the valley surface. Besides, compared with non-liquefied ground, ground liquefaction remarkably increases the deformation in the ground surface, bending moment of piles foundation in pile top and soil division section, the inclination of piers and the displacement of sliding supports. However, the effect of ground liquefaction on bending moment at pier bottom is little.
Key words: bridge engineering; seismic response; finite element method; simply supported girder bridge; liquefaction
0 引言
地震诱发的软土场地液化现象对桥梁的结构产生了严重的灾害1,2,3。1964 年,日本新泻地震中 Yachiyo 桥的震害表明,液化引起地面向河中央运动、桥台沉陷、桩基础变形、墩柱倾斜过大等震害4;1990 年,菲律宾 Luzon 地震中,土体液化引起堤岸侧向大变形,导致简支梁桥的落梁5。针对以上震害,国内外学者进行了液化场地桥梁结构的地震反应分析研究。其中,多数是针对单墩、单桩模型的地震反应分析,主要包括对液化场地离心机6,7,8、振动台模型试验1,9的模拟和液化条件下桩基础的数值分析10,11,12,13,14。另外,少数研究对液化场地全桥进行了地震反应分析15,16,17,但这些研究亦主要针对桥梁下部结构,而对其上部结构的研究较少,对液化场地桥梁上、下部结构的完整地震反应分析较缺乏,且震害调查亦显示,场地液化往往导致桥梁上、下部结构的整体性损伤。因此,有必要对液化场地桥梁结构各部件的地震反应进行全面分析。
本文首先以某离心机试验为背景,建立 2 个单墩模型的场地 - 结构二维有限元模型,并以离心机试验结果进行验证。然后,建立某典型河谷可液化场地三跨简支梁桥的二维有限元模型,并进行地震反应分析,以桥梁结构各部件为主要研究对象,比较在场地液化和非液化 2 种情况下的地震反应规律。
1 二维场地-结构模拟及其验证
1.1 离心机试验概况
Wilson 等18为研究桩基础在软土可液化场地的地震反应特性,进行了多组离心机缩尺模型试验,其中命名为 CSP3 的试验布置如图 1 所示。该试验由 4 个试件组成,以其中自由段长度较短的单桩试件和 2 \times 2 群桩试件为研究对象,其原型尺寸及桩身弯矩测点 SG1\simSG6 布置如图 2 所示,材料弹性模量为 7 \times 10^7 \text{kPa}。试验所用砂土的物理性质见表 1。
1.2 基于 OpenSees19的模拟方法
1.2.1 材料本构
砂土采用对孔隙水压变化较为敏感的多屈服面塑性材料本构,对应于 OpenSees 材料库中的 PressureDependMultiYield02 本构模型20,21,可模拟砂土在循环荷载作用下出现的剪胀、流动等现象,且考虑了液化引起的砂土永久剪应变循环累积效应。
黏土采用对孔隙水压变化不敏感的多屈服面塑性本构模型,即孔隙水压的变化对土体剪切特性的影响较小,该本构模型对应于 OpenSees 材料库中的 PressureIndependMultiYield 本构模型22。
离心机试验模型中各层土体参数的取值见表 2。此外,由于试验中结构保持弹性状态,故桩身、墩柱的模拟均采用弹性材料本构。
1.2.2 饱和土体数值动力方程
土体单元基于平面应变理论,动力方程为基于 Boit 土 - 水耦合作用理论的 u-p 公式(u 为土颗粒位移,p 为孔隙压力),表述如下
式中:M 为质量矩阵;u 为位移向量;B 为应变 - 位移矩阵;\sigma' 为有效应力张量;Q 为土颗粒 - 水耦合离散梯度算子;p 为孔隙水压向量;S 为压缩系数矩阵;H 为渗透系数矩阵;V 为积分域;向量 f^{(s)} 和 f^{(p)} 分别表示水 - 土混合物和水的体力及规定的边界条件。
式(1)、(2)可通过 Newmark 法在时域内进行积分求解。
1.2.3 结构-土相互作用
图 3 为桩 - 土相互作用的模拟方法示意,桩身与土体侧向、竖向相互作用采用考虑液化的 P-y,T-z 弹簧,分别对应于 OpenSees 材料库中的 PyLiq1,TzLiq1 本构模型24,25;桩尖与土体的竖向相互作用采用 Q-z 弹簧,对应于 OpenSees 材料库中的 QzSimple1 本构模型24。
考虑液化的 P-y,T-z 弹簧,其极限强度 p_{\text{ult\_liq}} 满足
式中:p_{\text{ult}} 为不考虑液化的桩 - 土相互作用力;p_{\text{res}} 为残余强度;\sigma', \sigma'_0 分别为土体单元的实时、初始平均有效应力。
p_{\text{ult}} 可根据土体物理参数由 API 规范26获得,土体超孔隙水压比 r_u 越大说明液化程度越高,r_u 可定义为
结合式(3)可知,液化后 P-y,T-z 弹簧的极限强度随相邻的土体单元平均超孔隙水压比的增大而减小,即随液化程度的加深而减小。
1.3 方法验证
CSP3 试验某工况的地震动输入为缩放的实际记录 SantCruze 地震动时程,峰值加速度为 0.5g(图 4)。
图 5 给出了试验中关键位置处土体超孔隙水压比 r_u 的发展历程,数值分析与试验测试结果大体上较为吻合,说明二维场地 - 结构整体化模拟方法可有效模拟土体的地震反应特性。
图 6、图 7 分别为数值模型所得结构地震反应与试验数据的时程对比,总体上两者较为吻合。综上表明,本文数值模拟方法可有效模拟土体和结构的地震反应。
2 场地-简支梁桥整体化模型
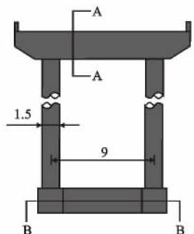
以一座典型的河谷软土场地三跨简支梁桥作为研究背景。如图 8 所示,桥梁跨径为 3 \text{m} \times 30 \text{m} T 梁截面主梁,桥墩、桩基础直径分别为 1.5 \text{m},1.2 \text{m};采用板式橡胶支座,两岸桥台上、P1 墩顶左侧布置滑动支座,其他位置布置固定支座。场地自上而下分为 4 层,各层土的物理性质见表 3,其中饱和松砂层为液化土层。
取主梁、墩柱、桥台和桩基础的横桥向半结构为研究对象,建立结构的二维平面模型,各部件均以弹性梁柱单元模拟。滑动支座采用理想弹塑性材料本构模拟,见图 8,固定支座采用线弹性材料本构,刚度与滑动支座的初始刚度相同,忽略主梁与桥台的碰撞。
土体本构参数见表 4,参考有效约束压力 101 \text{kPa},液化后残余强度 p_{\text{res}} = 0.3 p_{\text{ult}}。桩 - 土、桥台 - 土相互作用采用第 1 节所述结构 - 土相互作用模拟方法模拟。通过合理选取土体单元的平面外尺寸,近似模拟桩身对土体侧向变形的阻碍效应。一方面,若平面外尺寸很大,则土体类似于自由场,而桩身尺寸相对很小,无法体现桩身对土体侧向变形的阻碍效应;另一方面,若平面外尺寸很小,则桩身对土体侧向变形的阻碍会被高估,土体侧向变形会被低估。因此,在 Shin 等15和 Chang 等27的研究基础上,根据研究对象的特点(直径 1.2 \sim 1.5 \text{m} 桩基础),对土体单元平面外尺寸作如下处理:模型两侧边界的土体模拟为远场土体(图 8),平面外尺寸取 10 \text{km},而近场土体平面外尺寸取 15 \text{m}。另外,为准确模拟桩身对土体变形的阻碍效应,后续研究可考虑采用三维场地有限元模型。场地边界条件为底部土体单元各节点的水平、竖向自由度约束。顶层土体可排水;对于液化场地,基底及两侧边界土体不可排水;对于非液化场地,基底及两侧边界可排水,同时土体渗透系数设为 1,以阻止孔隙水压的升高,达到避免土体液化的目的。
本文重点考察桥梁纵向地震反应特性,采用 3 条实际地震记录作为地震输入,研究不同地震动下桥梁结构地震反应的普遍规律。各条波的加速度峰值 (PGA) 均缩放为 0.4g(图 9),主要参数见表 5。
3 地震反应分析结果比较
3.1 震后整体变形和土体反应
利用通用前后处理软件 GiD 29 得到了圣费尔南多地震作用下液化场地 - 全桥的震后变形情况,如图 10 所示。由图 10 可知:震后桥台土体沉陷,两岸土体向河中央变形;同时,桩基础产生了较大的变形,桥墩倾斜,支座位移过大,这些现象符合实际震害。需要说明的是震后桥墩倾斜方向、支座位移方向因地震动的不同可能发生改变。
图 11 为土体液化和未液化 2 种情况下地震后桩基础相邻土体的水平位移。3 条不同地震波呈现相似的规律,即土体液化后水平位移显著增大,特别是饱和松砂层土体,呈现向河中央变形的现象。图 12 为考虑土体液化和未液化 2 种情况下河谷地表加速度谱和基底地震动输入对应加速度谱的比较情况。土体未液化的情况下地震波到达地表呈现显著的放大效果,但土体液化的情况下,放大程度较小。此外,与输入地震动的卓越周期相比,液化场地地表加速度反应谱的卓越周期有不同程度的增加。
3.2 桩基础变形和弯矩
图 13 为圣费尔南多地震的震后桩基础侧向变形沿深度的分布。与场地未液化相比,场地液化显著增加了桩基础的侧向变形,与图 11 比较可知,桩基础的变形由土体的变形所主导。
图 14 为圣费尔南多地震过程中桩基础的弯矩包络曲线。由图 14 可知:与场地未液化相比,总体上,场地发生液化后,桩顶和土层分界处的弯矩峰值点有不同程度的增大;特别是靠右岸桥墩、桥台的基础,由于右岸可液化饱和松砂层较厚,液化范围比左岸更大,导致桩身弯矩增加更为显著。可见弯矩峰值位置与土层分布有密切关系,对于液化场地的抗震设计,应将桩顶和各土层分界处作为设计重点。
这与 1995 年阪神地震后采用钻孔探伤方法得到的液化地区震害相似,即桩基础的损伤主要集中在土层分界处及桩顶附近30。
3.3 桥墩倾斜和墩底弯矩
在液化场地中,桥墩的破坏除了因为地震内力过大外,也可能由于墩顶、墩底产生较大的相对位移,即桥墩发生较大倾斜,使得上部结构恒载作用点偏离桥墩几何中心过大,在桥墩上产生较大的二次内力,使桥墩发生破坏,进而增加落梁风险。为此,引入倾斜比 d_r 来表征桥墩的损伤程度,即
式中:\Delta_{\text{top}}, \Delta_{\text{bot}} 分别为墩顶、墩底水平位移;H' 为墩高。
以水平惯性力较大的固定墩 P2 为研究对象,表 6 列出了不同地震下,场地液化、未液化 2 种情况下 P2 的最大倾斜比和地震后倾斜比。由表 6 可知:与场地未液化相比,固定墩 P2 在液化场地中的地震过程最大倾斜比、地震后倾斜比总体上呈现不同程度的提高,且场地液化可能改变固定墩的震后倾斜方向,增加右岸桥台处上部结构的落梁风险。
表 7 列出了不同地震下,场地液化、未液化 2 种情况下固定墩 P2 的墩底最大地震弯矩。由表 7 可知:与场地未液化相比,场地液化使墩底地震弯矩略有增加,这是由于墩底弯矩主要由地震惯性力贡献,而惯性力与河谷地表地震动和墩身动力特性直接相关。一方面墩身动力特性由桥墩截面特性、墩高以及桩基础侧向刚度控制,桩基础侧向刚度受到场地液化与否的影响,场地液化会引起土体极限承载力下降,导致桩基础侧向刚度较小,从而提高固定墩的振动周期。另一方面,结合图 12,比较场地液化、未液化的地表地震动对应的加速度谱可知,对于短周期部分,液化场地的地震加速度较小,但某些地震波在频谱周期超过某一值时,液化场地的地震加速度可能大于未液化场地,混凝土简支梁桥固定墩的主控振型亦可能处于该值附近,因此导致墩底弯矩略有增加,但影响程度很小。
3.4 滑动支座位移
表 8 给出了桥墩 P1 的滑动支座在不同地震作用下的地震过程最大位移。由表 8 可知,与场地未液化相比,液化场地显著增加了滑动支座的位移,在 0.4g 峰值加速度的地震下,最大位移需求增加 70\% 以上,上部结构落梁风险显著提高。因此,对于液化场地的桥梁抗震设计,应提高滑动支座的位移能力,或采取其他限位措施以防止落梁的发生。
4 结语
(1)二维场地 - 全桥结构整体化有限元模型可模拟场地液化所致的地面大变形、桥台土体沉陷和上部结构落梁等现象。
(2)与场地未液化相比,场地液化后地表加速度响应的卓越周期有所提高,长周期成分对应的加速度值亦有所提高,但对输入地震动加速度峰值的放大程度略小。
(3)总体上,液化场地提高了桩基础的地震需求,且主要由地面变形所致。液化场地下桩基础的抗震设计应重点考虑桩顶、各土层分界处。
(4)场地液化显著增加了上部结构的落梁风险,但对桥墩墩底弯矩的地震反应影响较小。
(5)本文模型中的桩基础以弹性单元模拟,故未对其在地震下的非线性特性进行深入研究,后期可开展桩基础在液化场地下非线性地震反应特性的研究。
附图和附表
图表
(a) 侧视图

(b) 俯视图

图 1 CSP3 试验总体布置
Fig.1 General Layout of CSP3 Testing
(a) 单桩 (b) 2 \times 2 群桩

图 2 研究对象的原型设计(单位:\text{m})
Fig.2 Prototypical Designs of Research Objectives (Unit: \text{m})
表 1 CSP3 试验土体物理性质 18
Tab. 1 Physical Properties of Sand in CSP3 Testing 18
| 类别 | 原型厚/\text{m} | 重度/(\text{kN} \cdot \text{m}^{-3}) | 相对密度 | 内摩擦角/(^\circ) |
|---|---|---|---|---|
| 松砂 | 9.3 | 19.5 | 55 | 33 |
| 密砂 | 11.4 | 20.3 | 80 | 37 |
表 2 离心机试验模型的土体参数
Tab. 2 Soil Parameters of Centrifuge Test Model
| 土层类别 | 密砂层 | 松砂层 |
|---|---|---|
| 参考剪切模量 G_r / 10^4 \text{ kPa} | 13.0 | 7.5 |
| 体积模量 B_r / 10^5 \text{ kPa} | 2.6 | 2.0 |
| 峰值剪应变 | 0.1 | 0.1 |
| 压力指数 d | 0.5 | 0.5 |
| 相位角/(^\circ) | 26.0 | 25.5 |
| 体积收缩率1 | 0.013 | 0.045 |
| 体积收缩率3 | 0.00 | 0.15 |
| 体积膨胀系数1 | 0.30 | 0.06 |
| 体积膨胀系数3 | 0.00 | 0.15 |

图 3 桩 - 土相互作用模拟方法
Fig. 3 Simulation Method of Pile-soil Interaction

图 4 CSP3 试验所用 SantCruze 地震动时程
Fig.4 Sant Cruze Ground Motion Time-history for CSP3 Testing
(a) 松砂层顶

(b) 松砂层中间

(c) 松砂层底

(d) 密砂层底

图 5 超孔隙水压比的比较
Fig.5 Comparison on Excess Pore Water Pressure Ratio
(a) SG1 测点

(b) SG3 测点

(c) SG5 测点

(d) SG6 测点

图 6 单桩试件弯矩比较
Fig. 6 Comparison of Bending Moment for Single Pile Specimen
(a) SG1 测点

(b) SG3 测点

(c) SG5 测点

(d) SG6 测点

图 7 群桩试件弯矩比较
Fig.7 Comparison of Bending Moment for Piles Specimen
水平标尺
(a) 场地 - 全桥示意

(b) 桥台正立面

(c) 桥台侧立面

(d) 桥墩 P1, P2 立面

(e) 主梁横断面

(f) 桥墩 B-B 截面

(g) 桥墩 A-A 截面

(h) 支座本构曲线

图 8 二维场地 - 桥梁整体化模型及结构尺寸示意(单位:\text{m})
Fig. 8 Schematic of 2D Ground-bridge Integral Model and Structure Configurations (Unit: \text{m})
表 3 河谷软土场地的土层物理性质
Tab. 3 Physical Properties of Sand in River Valley Soft Site
| 土层 类别 | 重度/ (\text{kN} \cdot \text{m}^{-3}) | 内摩擦角/ (^\circ) | 渗透系数/ (\text{m} \cdot \text{s}^{-1}) | 孔隙比 |
|---|---|---|---|---|
| 筑堤密砂 | 21 | 39 | 6.0 \times 10^6 | 0.45 |
| 饱和松砂 | 20 | 29 | 3.0 \times 10^4 | 0.85 |
| 粉质黏土 | 17 | 1.3 \times 10^9 | ||
| 密砂 | 23 | 1.0 \times 10^5 |
表 4 河谷场地模型各土层的土体本构参数
Tab. 4 Parameters of Constitutive Models for Soils in River Valley Modelling
| 土层类别 | 筑堤密砂 | 饱和松砂 | 粉质黏土 | 密砂 |
|---|---|---|---|---|
| 参考剪切模量/10^4 \text{ kPa} | 15.50 | 4.27 | 9.00 | 15.00 |
| 体积模量/10^5 \text{ kPa} | 2.79 | 1.28 | 5.00 | 2.95 |
| 峰值剪应变 | 0.1 | 0.1 | 0.1 | 0.1 |
| 压力指数 | 0.5 | 0.5 | 0.0 | 0.5 |
| 相位角/(^\circ) | 26 | 26 | 30 | |
| 体积收缩率1 | 0.014 | 0.067 | 0.013 | |
| 体积收缩率3 | 0.00 | 0.23 | 0.00 | |
| 体积膨胀系数1 | 0.564 | 0.060 | 0.300 | |
| 体积膨胀系数3 | 0.00 | 0.27 | 0.00 | |
| 黏聚力/\text{kN} | 0 | 0 | 51 | 0 |
(a) 圣费尔南多地震

(b) 帝王谷地震

(c) 阪神地震

图 9 峰值加速度 0.4g 时的地震动时程
Fig. 9 Scaled Ground Motion Time history with PGA is 0.4g
表 5 地震动主要参数对比
Tab. 5 Main Parameters Comparisons of Ground Motions
| 地震动 | 圣费尔南多地震 | 帝王谷地震 | 阪神地震 |
|---|---|---|---|
| 卓越周期/\text{s} | 0.16 | 0.10 | 0.34 |
| 峰值速度/(\text{m} \cdot \text{s}^{-1}) | 0.31 | 0.45 | 0.40 |
| Arias 强度 28/(\text{m} \cdot \text{s}^{-1}) | 1.91 | 2.20 | 2.09 |
| 速度谱强度/\text{m} | 0.92 | 1.42 | 2.09 |

图 10 圣费尔南多地震作用下场地 - 全桥的震后变形
Fig. 10 Post-earthquake Deformation of Ground-bridge Model Under San Fernando Earthquake
(a) PF0 (圣费尔南多地震)

(b) PF0 (帝王谷地震)

(c) PF0 (阪神地震)

(d) PF1 (圣费尔南多地震)

(e) PF1 (帝王谷地震)

(f) PF1 (阪神地震)

(g) PF2 (圣费尔南多地震)

(h) PF2 (帝王谷地震)

(i) PF2 (阪神地震)

(j) PF3 (圣费尔南多地震)

(k) PF3 (帝王谷地震)

(l) PF3 (阪神地震)

图 11 不同地震后桩基础相邻土体变形
Fig. 11 Adjacent Soil Displacement in Pile Foundation in Post-earthquake
(a) 圣费尔南多地震

(b) 帝王谷地震

(c) 阪神地震

图 12 液化、未液化情况下河谷地表加速度谱与输入地震波加速度谱的比较
Fig. 12 Comparisons Between Ground Surface Acceleration Spectrum with and Without Liquefaction and Input Acceleration Spectrum
帝王谷地震 **




图 13 地震后桩基础变形沿深度分布
Fig. 13 Post-earthquake Pile Displacement Distributions




图 14 桩基础弯矩包络曲线
Fig. 14 Envelope Curves for Pile Bending Moment
表 6 固定墩 P2 的倾斜比对比
Tab. 6 Comparisons of Tilt Ratio of Pier P2
| 地震动 | 最大倾斜比/\% | 地震后倾斜比/\% |
|---|---|---|
| 液化 | 未液化 | |
| 圣费尔南多地震 | -1.69 | -1.43 |
| 帝王谷地震 | 1.84 | 1.82 |
| 阪神地震 | -0.96 | 0.81 |
| 注:正值表示向右岸倾斜,负值表示向河中央倾斜。 |
表 7 固定墩 P2 墩底弯矩对比
Tab. 7 Comparisons on Bending Moments of Pier P2 at Bottom
| 地震动 | 最大地震弯矩/(10^4 \text{ kN} \cdot \text{m}) | (M_1 - M_2) / M_2 |
|---|---|---|
| M_1 (液化) | M_2 (未液化) | |
| 圣费尔南多地震 | 1.03 | 0.99 |
| 帝王谷地震 | 1.27 | 1.25 |
| 阪神地震 | 0.75 | 0.70 |
表 8 桥墩 P1 滑动支座位移对比
Tab. 8 Comparisons on Sliding Bearing Displacement of Pier P1
| 地震动 | 最大地震位移/\text{cm} | (S_1 - S_2) / S_2 |
|---|---|---|
| S_1 (液化) | S_2 (未液化) | |
| 圣费尔南多地震 | 44.10 | 25.80 |
| 帝王谷地震 | 42.30 | 23.00 |
| 阪神地震 | 48.90 | 24.00 |
参考文献
References:
徐鹏举. 可液化场地桥梁桩基础地震反应分析与简化分析方法研究 [D]. 哈尔滨:哈尔滨工业大学,2011.
XU Peng-ju. Seismic Response Analysis and Simplified Method of Bridge Pile Foundation in Liquefiable Ground[D]. Harbin: Harbin Institute of Technology, 2011. ↩ ↩BHATTACHARYA S, TOKIMATSU K, GODA K, et al. Collapse of Showa Bridge During 1964 Niigata Earthquake: A Quantitative Reappraisal on the Failure Mechanisms[J]. Soil Dynamics and Earthquake Engineering, 2014, 65:55-71. ↩
LIN S, TSENG Y, CHIANG C, et al. Damage of Piles Caused by Lateral Spreading - Back Study of Three Cases[C]//ASCE. Seismic Performance and Simulation of Pile Foundations in Liquefied and Laterally Spreading Ground. Reston: ASCE, 2006: 121-133. ↩
HAMANDA M. Case Studies of Liquefaction and Lifeline Performance During Past Earthquakes, Volume 1, Japanese Case Studies[J]. National Center for Earthquake Engineering Research, Technical Report, 1992, 92:341-356. ↩
ISHIHARA K, ACACIO A, TOWHATA I. Liquefaction Induced Ground Damage in Dagupan in the July 16, 1990 LUZON Earthquake[J]. Soils and Foundations, 1993, 33(1): 133-154. ↩
BOULANGER R, WILSON D, KUTTER B. Nonlinear FE Analyses of Soil-pile Interaction in Liquefying Sand [C]//YEGIAN M K, KAVAZANJIAN E. Geotechnical Engineering for Transportation Projects. Reston: ASCE, 2004:403-410. ↩
CHANG D, BOULANGER R, BRANDENBERG S, et al. Dynamic Analyses of Soil-pile-structure Interaction in Laterally Spreading Ground During Earthquake Shaking[C]//BOULANGER R, TOKIMATSU K. Seismic Performance and Simulation of Pile Foundations in Liquefied and Laterally Spreading Ground. Reston: ASCE, 2006;218-229. ↩
ARMSTRONG R J, BOULANGER R W, BEATY M H, et al. Liquefaction Effects on Piled Bridge Abutments: Centrifuge Tests and Numerical Analyses[J]. Journal of Geotechnical and Geoenvironmental Engineering, 2013, 139(3):433-443. ↩
唐亮, 凌贤长, 徐鹏举, 等. 液化场地桩 - 地震相互作用振动台试验数值模拟 [J]. 土木工程学报, 2012, 45(增 1):302-306, 311.
TANG Liang, LING Xian-zhang, XU Peng-ju, et al. Numerical Simulation of Shaking Table Test for Seismic Soil-pile Interaction in Liquefying Ground[J]. China Civil Engineering Journal, 2012, 45 (S1): 302-306,311. ↩TANG L, MAULA B, LING X, et al. Numerical Simulations of Shake-table Experiment for Dynamic Soil-pile-structure Interaction in Liquefiable Soils [J]. Earthquake Engineering and Engineering Vibration, 2014, 13(1):171-180. ↩
VALSAMIS A, BOUCKOVALAS G, CHALOULOS Y. Parametric Analysis of Single Pile Response in Laterally Spreading Ground[J]. Soil Dynamics and Earthquake Engineering, 2012, 34:99-110. ↩
CHENG Z, JEREMIC B. Numerical Modeling and Simulation of Pile in Liquefiable Soil[J]. Soil Dynamics and Earthquake Engineering, 2009, 29(11): 1405-1416. ↩
UZUOKA R, SENTO N, KAZAMA M, et al. Three-dimensional Numerical Simulation of Earthquake Damage to Group-piles in A Liquefied Ground[J]. Soil Dynamics and Earthquake Engineering, 2007, 27 (5):395-413. ↩
ZHENG W, LUNA R. Liquefaction Effects on Lateral Pile Behavior for Bridges [C]//PARSONS R L, ZHANG L, GUO W D, et al. Foundation Analysis and Design: Innovative Methods. Reston: ASCE, 2006: 264-270. ↩
SHIN H, ARDUINO P, KRAMER S, et al. Seismic Response of A Typical Highway Bridge in Liquefiable Soil[C]//ZENG D, MANZARI M T, HILTUNEN D R. Geotechnical Earthquake Engineering and Soil Dynamics IV. Reston: ASCE, 2008: 1-11. ↩ ↩
ZHANG Y, CONTE J P, YANG Z, et al. Two-dimensional Nonlinear Earthquake Response Analysis of A Bridge-foundation-ground System [J]. Earthquake Spectra, 2008, 24(2):343-386. ↩
ELGAMAL A, YAN L, YANG Z, et al. Three-dimensional Seismic Response of Humboldt Bay Bridge-foundation-ground System [J]. Journal of Structural Engineering, 2008, 134(7): 1165-1176. ↩
WILSON D, BOULANGER R, KUTTER B. Soil-pile-superstructure Interaction at Soft or Liquefiable Soils Sites-centrifuge Data Report for CSP3[R]. Davis: University of California at Davis, 1997. ↩ ↩ ↩
MCKENNA F, FENVES G, SCOTT M, et al. Open System for Earthquake Engineering Simulation[CP]. Berkeley: University of California, 2001. ↩
ELGAMAL A, YANG Z, PARRA E. Computational Modeling of Cyclic Mobility and Post-liquefaction Site Response[J]. Soil Dynamics and Earthquake Engineering, 2002, 22(4): 259-271. ↩
YANG Z, ELGAMAL A, PARRA E. Computational Model for Cyclic Mobility and Associated Shear Deformation[J]. Journal of Geotechnical and Geoenvironmental Engineering, 2003, 129(12): 1119-1127. ↩
PARRA-COLMENARES E J. Numerical Modeling of Liquefaction and Lateral Ground Deformation Including Cyclic Mobility and Dilation Response in Soil Systems [D]. Corvallis: Oregon State University, 1996. ↩
BIOT M. Theory of Elasticity and Consolidation for a Porous Anisotropic Solid [J]. Journal of Applied Physics, 1955, 26(2): 182-185.
BOULANGER R, CURRAS C, KUTTER B, et al. Seismic Soil-pile-structure Interaction Experiments and Analyses[J]. Journal of Geotechnical and Geoenvironmental Engineering, 1999, 125(9):750-759. ↩ ↩
BRANDENBERG S, ZHAO M, BOULANGER R, et al. P-Y Plasticity Model for Nonlinear Dynamic Analysis of Piles in Liquefiable Soil [J]. Journal of Geotechnical and Geoenvironmental Engineering, 2013, 139(8):1262-1274. ↩
API RP 2A-WSD, Recommended Practice for Planning, Designing, and Constructing Fixed Offshore Platforms—Working Stress Design[S]. ↩
CHANG D, BOULANGER R, BRANDENBERG S, et al. FEM Analysis of Dynamic Soil-pile-structure Interaction in Liquefied and Laterally Spreading Ground[J]. Earthquake Spectra, 2013, 29 (3): 733-755. ↩
ARIAS A. Measure of Earthquake Intensity[M]// HANSEN R. Seismic Design for Nuclear Power Plants. Cambridge: Massachusetts Institute of Technology, 1970:438-483. ↩
GiD 12.0.1. The Personal Pre and Postprocessor [CP]. Barcelona: International Center for Numerical Methods in Engineering (CIMNE), 2008. ↩
MARTIN G. The Seismic Design of Bridge-geotechnical and Foundation Design Issues[C]// YEGIAN M K, KAVAZANJIAN E. Geotechnical Engineering for Transportation Projects. Reston: ASCE, 2004: 137-166. ↩